Uart通信基础_串口发送一个高电平时,要持续多久-csdn博客 Uart diagram block transmitter receiver asynchronous universal communication fig Uart flow control state machine diagram tx sdk nrf51 without rx hardware uart hardware flow control diagram

Make a comparison of UART Hardware Software and Legacy hardware flow

Uart vhdl code Back to basics: the universal asynchronous receiver/transmitter (uart Uart arduino communication connection interface components shows wiring circuitbasics discuss

Uart transmitter simplified asynchronous universal detailed circuit

Uart lpc2148 microcontroller arm circuit diagram arm7 binaryupdates serial communicationMake a comparison of uart hardware software and legacy hardware flow Uart diagram block receiver transmitter world vhdl data baud code depicts figure has bits rfwirelessUart (universal asynchronous receiver transmitter) communication.

Schematic of the uart 3 serial port interface.Uart-universal asynchronous receiver-transmitter Uart circuit diagram32+ block diagram of uart gif.

How UART works and its Interface with Bluetooth
How UART works and its Interface with Bluetooth

Uart ch340g schematic pcb

Uart transmitter receiver asynchronous universal diagram signal interface basics back hardware clock two articles timing electronicsStm32 usart / uart tutorial Circuit diagram-uart in lpc2148 arm microcontrollerUart control.

Uart moduleUart communication frame serial data msp430 microcontroller bit bits parity stop structure Uart protocol – nordic developer academySoftware uart through emulated gpio pins – jimmyiot.

What is UART Communication? Block Diagram - ETechnoG
What is UART Communication? Block Diagram - ETechnoG

Ft232rl circuit

How uart works and its interface with bluetoothUart dce hardware dte connections guid Uart communication diagram block protocol data serial applications its parallel betweenKhái niệm cơ bản về truyền thông uart, sơ đồ khối, ứng dụng.

[diagram] what is rs232 protocol and how it works wiring diagramUart hardware flow control Cpuwolf's web blog: uart hardware flow controlUart module.

UART module
UART module

Uart usart stm32 rts

Uart flow control circuit with a timing diagram (recorded with a logicTtl to rs485 module serial port uart hardware automatic flow control 3 Rs485 ttl uart module serial 3v port converter arduino tapatalk hack emoncms 0v 5v openenergymonitorFetch( ); decode( ); execute( );: observing uart communication using.

P1: uart controller — real-time and embedded data systemsWhat is uart communication? block diagram Uart flow control circuit with a timing diagram (recorded with a logicHardware flow control.

UART flow control circuit with a timing diagram (recorded with a logic
UART flow control circuit with a timing diagram (recorded with a logic

How to set up uart communication on the arduino

Uart flow state control machine diagram tx sdk nrf51 enabled s130 nordicsemiWorkshop and experiment in electronics: designing a usb to uart module Uart serial communication with msp430 microcontrollerIntroduction to uart.

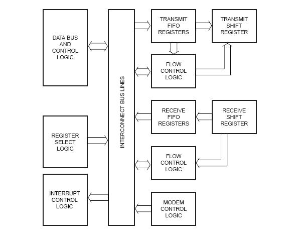
Basics of uart explainedUart interface diagram block bluetooth its register explain bit functions these interrupt data internal .

Workshop And Experiment In Electronics: Designing a USB to UART Module
Workshop And Experiment In Electronics: Designing a USB to UART Module
UART Protocol – Nordic Developer Academy
UART Protocol – Nordic Developer Academy
Uart Circuit Diagram - Here A Simplified Block Diagram Of The Uart
Uart Circuit Diagram - Here A Simplified Block Diagram Of The Uart
TTL to RS485 Module Serial Port UART Hardware Automatic Flow Control 3
TTL to RS485 Module Serial Port UART Hardware Automatic Flow Control 3
Introduction to UART - The Engineering Knowledge
Introduction to UART - The Engineering Knowledge
Make a comparison of UART Hardware Software and Legacy hardware flow
Make a comparison of UART Hardware Software and Legacy hardware flow
Ft232rl Circuit
Ft232rl Circuit
UART-Universal Asynchronous Receiver-Transmitter - QuecPython
UART-Universal Asynchronous Receiver-Transmitter - QuecPython